股权“迷局”:长城国瑞证券

Connor 币火交易所官网 2026-01-02 15 0

股权“迷局”:长城国瑞证券

在两家“同门”官宣将被中金公司吸收合并的同时,同为AMC系券商的长城国瑞证券,显得有些“落寞”。无论是监事会“全员下课”,还是二股东股权冻结,还是控股股东的券商加仓,似乎都没有引发太多关注。

股权“迷局”:长城国瑞证券

官宣解职

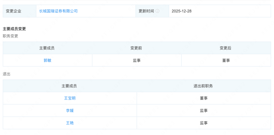
企查查显示,长城国瑞证券有限公司(简称:长城国瑞)新增多项人事变动。

股权“迷局”:长城国瑞证券

展开全文

当然,这并不让行家感到意外。

长城国瑞证券在12月23日发布的《关于不再设立监事会及监事的公告》显示:根据《公司法》和证监会《关于新 配套制度规则实施相关过渡期安排》等法律法规的相关要求,结合公司实际情况,长城国瑞证券不再设立监事会及监事,由董事会下设的审计委员会行使职权。原监事会主席郭敏女士、监事王艳女士、职工监事李媛女士免去相关职务。

股权“迷局”:长城国瑞证券

股权“迷局”:长城国瑞证券

旧案进展

几乎同一时间,长城国瑞证券涉及的一起旧案,有了新的进展。

12月17日,北京市中级人民法院执行(2024)京01执1860号案,冻结了北京新罗顿企业管理有限公司(简称:北京新罗顿)所持长城国瑞证券股权,期限三年。

股权“迷局”:长城国瑞证券

要知道,北京新罗顿是长城国瑞证券的第二大股东,持股比例28.01%。长城国瑞证券官网小字提示:北京新罗顿所持股权“用于质押融资且被司法冻结”。

股权“迷局”:长城国瑞证券

不过,公开信息并没有查到北京新罗顿所涉的案件详情。

股权“迷局”:长城国瑞证券

股东加仓

另一则与券商股权相关的资讯,来自长城国瑞控股股东——中国长城管理股份有限公司(简称:中国长城)。

同样是12月23日,中国长城以2.96亿的底价,一举拍下回音必集团有限公司(简称:)所持的3740.66万股“财通证券”。

与财通证券当前股价(8.81元/股)相比,这笔单价约为7.91元/股的“加仓”,现已取得一成“浮盈”。

据媒体报道,中国长城此举可能单纯出于财务目的,并不涉及谋求更多“话语权”。

而在财务方面,长城国瑞证券的“贡献”如何,可以通过一组公开数据衡量。

股权“迷局”:长城国瑞证券

降本增利

2024年,在证券行业取得两位数增幅的的背景下,长城国瑞证券表现依然“一言难尽”:营业收入3.72亿元,同比增长9.24%;归母净利润为0.95亿元,同比削减0.10亿元。

2025年上半年,长城国瑞证券营业收入1.58亿元,同比增长9.25%;其中经纪业务创收0.48亿元,同比增长34.27%。因营业成本同比削减23.03%,归母净利润0.53亿元,同比增长255.58%。

无论从哪个角度来看,长城国瑞的业绩表现称得上薄弱,在证券行业的处境难言乐观。而券商并购,也成为多方猜测的话题。

股权“迷局”:长城国瑞证券

并购悬念

在券商并购浪潮中,AMC系券商动作频繁。

回想今年年初,中国东方、中国信达和中国长城同步公告“易主”,控股权由财政部划转至中央汇金投资有限责任公司(简称:中央汇金)。证监会在今年6月核准长城国瑞、东兴证券、信达证券“易主”中央汇金。

今年11月,中金公司官宣吸收合并东兴证券和信达证券。若无意外,这两家AMC系上市券商,已经预定“结局”。

然而,坊间对长城国瑞证券的猜测,并未由此平息。是否继续谋求被并购,还是有别的考量?

免责声明:本文仅供信息分享,不构成对任何人的任何投资建议。投资者据此操作,风险自担。

评论